ABB ProcessMaster Manuel D'opération page 43

Masquer les pouces Voir aussi pour ProcessMaster:
Table des Matières
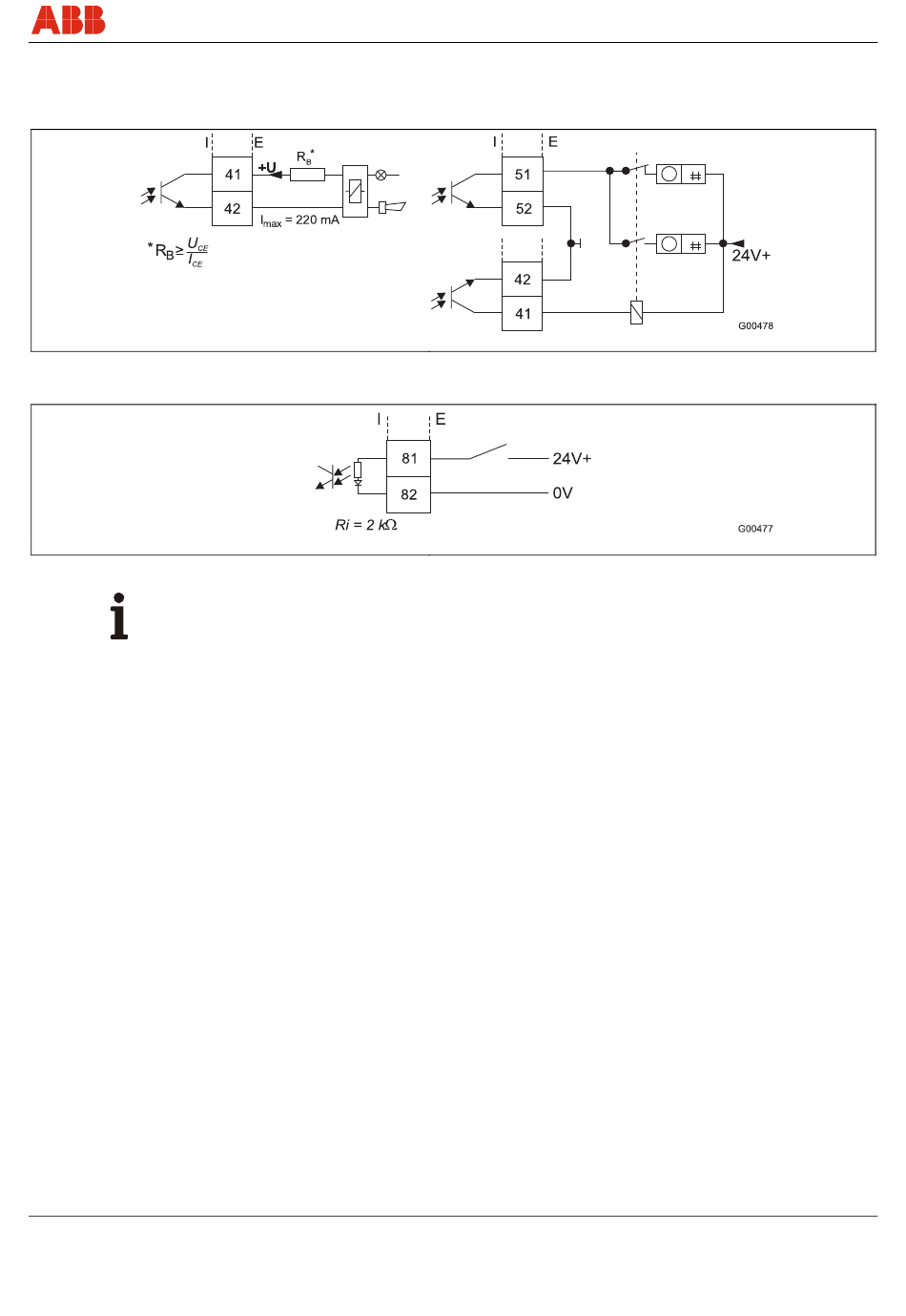
Sortie numérique DO2 p. ex. pour surveillance système,
alarme max./min., tube de mesure vide ou signalisation
Direct/Inverse ou impulsions de comptage (Fonction réglable
par logiciel)
I = interne, E = externe
Fig. 41
Entrée numérique pour coupure sortie externe ou remise à zéro externe compteur
I = interne, E = externe
Fig. 42
Important
Pour de plus amples informations sur la configuration de la sortie courant, voir chapitre 5.2
« Configuration de la sortie courant ».
OI/FEP300/FEH300-FR
Sortie numérique DO1 et DO2, impulsions Direct/Inverse séparées
ProcessMaster / HygienicMaster
Montage
43
Table des Matières
loading

Ce manuel est également adapté pour:

HygienicmasterOi/fep300Feh300-fr

Table des Matières