Vakuum Switchbox; Aufstellen Des Gerätes; Anschlüsse Herstellen - Heidolph Rotavac Valve Control Mode D'emploi

Table des Matières
Les langues disponibles
  • FR

Les langues disponibles

D

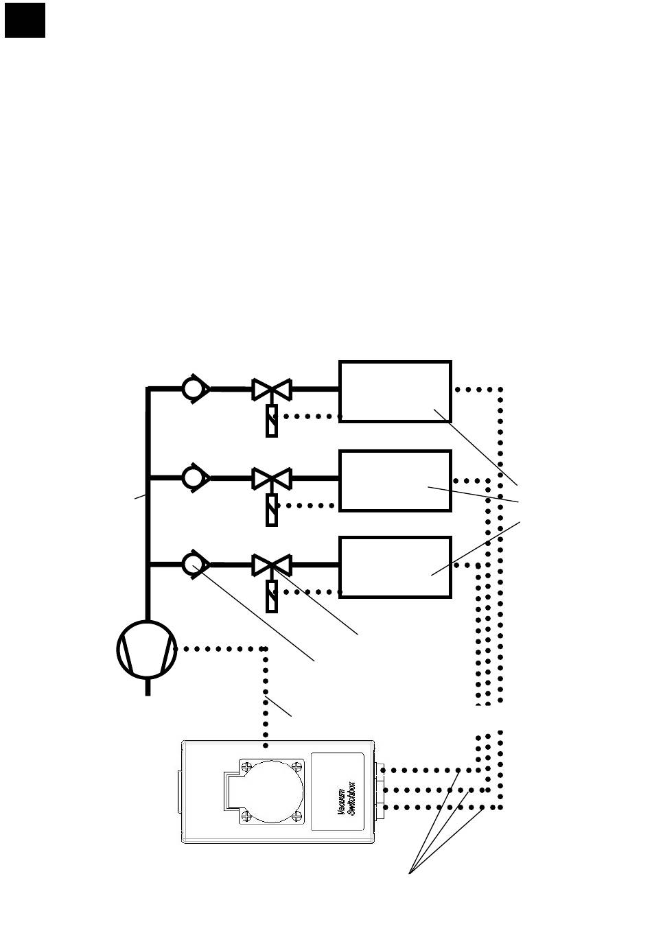
5. Vakuum Switchbox

5.1. Aufstellen des Gerätes
Die Vacuum Switchbox auf eine ebene, feste Unterlage stellen.
5.2. Anschlüsse herstellen
Mit der Vakuum Switchbox können bis zu 3 Rotationsverdampfersysteme an einer Vakuumpumpe
betrieben werden. Die elektrischen Verbindungen und die Vakuumverbindungen werden wie im
Bild gezeigt hergestellt. Da die 3 Rotationsverdampfersysteme mit unterschiedlichen Drücken
arbeiten können, ist der Einbau der 3 Rückschlagventile wie im Bild gezeigt erforderlich. Die
Verbindungsleitungen und die Rückschlagventile sind im Lieferumfang enthalten. Die
Vakuumpumpe wird an der Steckdose der Vacuum Switchbox angeschlossen.
Vakuum-
leitungen
Vacuum-
pumpe
Verbindungsleitungen
System
1
System
2
System
3
Vakuumventil
Rückschlag-
ventil
Anschlußleitung Vakuumpumpe
14
LABOROTA
incl.
Vakuum-
controller
Table des Matières
loading

Table des Matières