On-Time (I/0 Timer) - Sentiotec Infrabox Basic Instructions De Montage Et Mode D'emploi

Table des Matières
Les langues disponibles

Les langues disponibles

Installation instructions, for professionals only

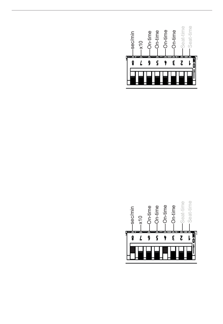
6.5. On-time (I/0 timer)

DIP-Bank 2
Function selection switch 3 – 6
Note: To activate the On-time, additional
settings are required, see 6.1. Operating
mode on page 18 and Fig. 15: Timer I/0
operating mode on page 23
Function of the On-time: output begins to run or to clock after switching on the
controller according to the set times.
On-time: Setting the timer (timer function). Switching position of the required
value to ON according to the following table.
x10 – multiplicator (7): The timer set above the value is multiplied by 10.
OFF = deactivated, ON = activated
sec/min – unit (8): Switching from seconds to minutes.
OFF = seconds, ON = minutes
Example: setting time 3 mins
Fig. 13:On-time
Fig. 14: Example On-time
p. 22/32
ON
OFF
ON
OFF
Table des Matières
loading

Table des Matières