Exécution Des Tests De Relais; Exécution Des Tests De Module; Contacteur Principal Ventilation - Nordmann Engineering Rc4 Instructions D'exploitation

Masquer les pouces Voir aussi pour RC4:
Table des Matières
4.7.3
Exécution des tests de relais
sélection des tests de relais:
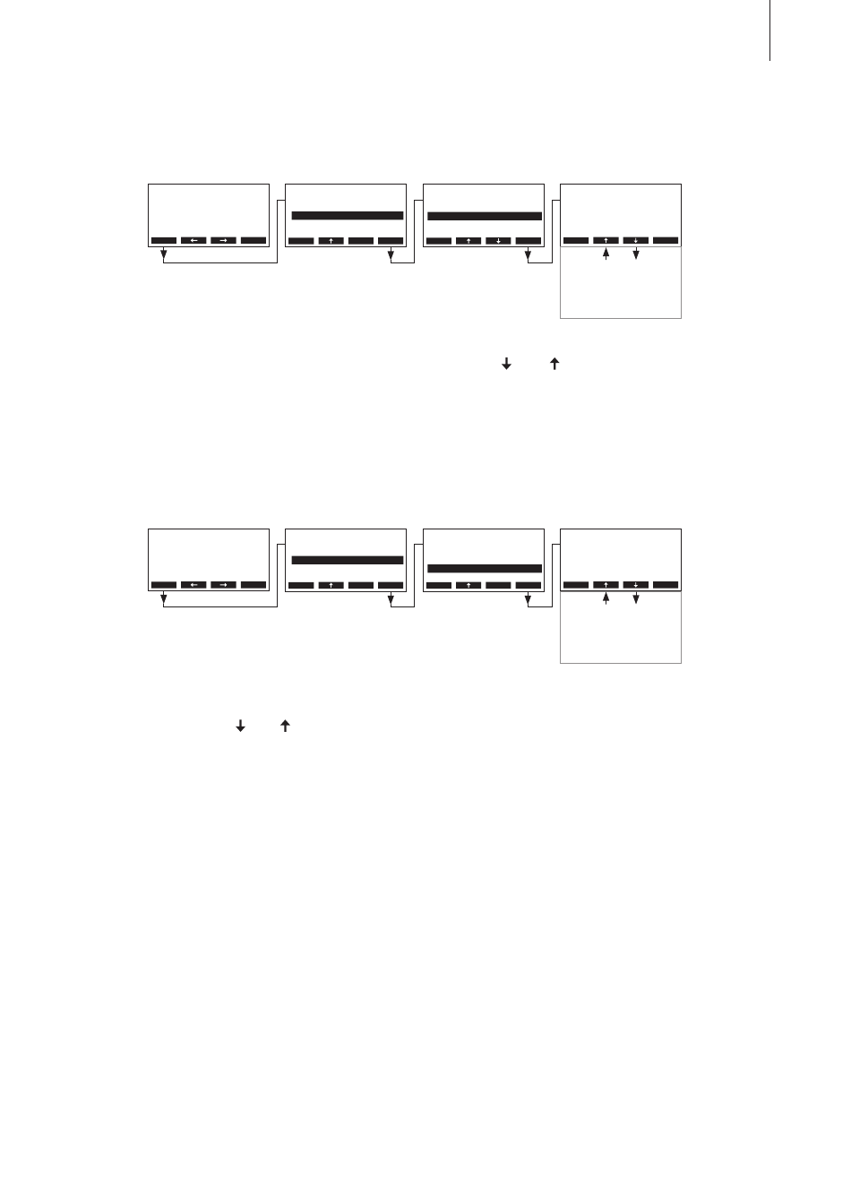
Voie: Menu > Diagnostic > Relais test
RC4 230V2
Standby
2011-10-31 12.00.00
Menu
la liste des tests de relais apparaît, le premier test de relais est visualisé (relais vapeur). Vous pouvez
sélectionner d'autres tests de relais avec les touches < > et < >, puis enclencher et déclencher
avec la touche <Set> pour effectuer les tests.
4.7.4
Exécution des tests de module
sélection des tests de module:
Voie: Menu > Diagnostic > Module Test
RC4 230V2
Standby
2011-10-31 12.00.00
Menu
la liste des tests de module pour le module sélectionné apparaît, le premier test (vanne d'admission)
est affiché.
les touches < > et < > permettent de sélectionner les autres tests du module choisi, puis d'enclen-
cher et déclencher avec la touche <Set> pour effectuer les tests.
Menu
Diagnostic
Utilisateur :Set
HistorErreur:Set
Ingénieur
:Set
Statut App. :Set
Diagnostic
:Set
Relais test :Set
Module Test :Set
Esc
Set
Esc
Menu
Diagnostic
Utilisateur :Set
HistorErreur:Set
Ingénieur
:Set
Statut App. :Set
Diagnostic
:Set
Relais test :Set
Module Test :Set
Esc
Set
Esc
Relais test
RelaisAutot.prd.vape
Al'arrêt
Esc
Set
Set
RelaisAutot.entretie
Al'arrêt
Relais de défaut
Al'arrêt
Relais présence tens
Al'arrêt
Module Test
Vanne d'admission
Al'arrêt
Set
Esc
Set
PompeDéconcentration
Al'arrêt
Contacteur principal
Al'arrêt
ventilation:
Al'arrêt
35
Table des Matières
loading

Ce manuel est également adapté pour:

Dc4

Table des Matières