Commande De Groupe; Système De Jumelage Simultané; Système Double; Commande De Groupe Pour Système D'unités Multiples - Toshiba Rav-Hm1101Krtp-E Manuel D'installation

Table des Matières

Commande de groupe

Système de jumelage simultané
Une combinaison comprenant une unité extérieure permet de régler simultanément les unités intérieures
sur ON ou OFF. Les configurations de système suivantes sont disponibles.
- Deux unités intérieures avec le système double
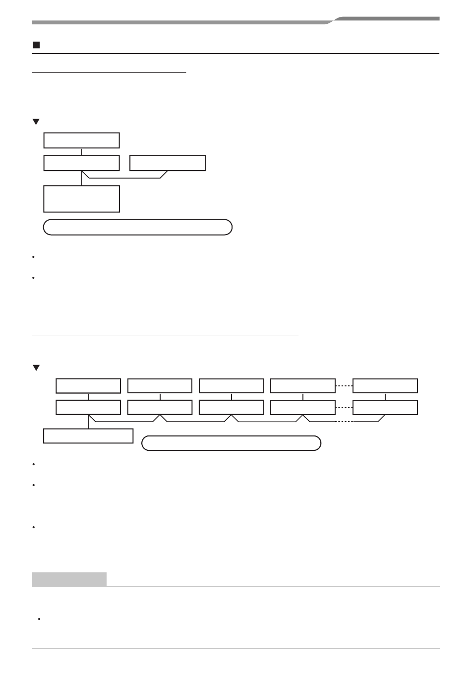
Système double
Unité extérieure
Unité intérieure
Télécommande
Achever la configuration de l'adresse en mettant sous tension
Pour connaître la procédure et la méthode de câblage, reportez-vous à la section « Raccordement
électrique » de ce manuel.
Lorsque vous avez mis sous tension, l'adressage automatique démarre et clignote sur l'afficheur pour
indiquer que l'adresse est en cours de configuration.
Pendant l'adressage automatique, la télécommande ne peut pas fonctionner.
Il faut environ 5 minutes pour achever l'adressage automatique.
Commande de groupe pour système d'unités multiples
Un groupe peut contrôler jusqu'à 16 (TU2C-Link) ou 8 (TCC-Link) unités intérieures avec une seule
télécommande. (Voir les spécifications de câblage)
Commande de groupe dans un seul système
Unité extérieure
Unité intérieure
Télécommande
Pour connaître la procédure et la méthode de câblage d'une ligne individuelle (réfrigérant identique),
reportezvous à la section «Raccordement électrique».
Le câblage entre les lignes s'effectue en procédant de la façon suivante.
Branchez la borne (A / B) de l'unité intérieure branchée sur une télécommande sur les bornes (A / B)
des unités intérieures des autres unités intérieures en câblant le conducteur de connexion entre les
unités de la télécommande.
Lorsque vous avez mis l'appareil sous tension, l'adressage automatique démarre et l'afficheur clignote
pendant environ 3 minutes pour indiquer que l'adresse est en cours de configuration. Pendant
l'adressage automatique, la télécommande ne peut pas fonctionner.
Il faut environ 5 minutes pour achever l'adressage automatique.
REMARQUE
Il est parfois nécessaire de modifier l'adresse manuellement après la configuration de l'adresse
automatique en fonction de la configuration du système de la commande de groupe.
La configuration du système décrite ci-dessous fournit un exemple pour des systèmes plus
complexes dans lesquels les unités d'un système double ou triple simultané sont commandées en
tant que groupe par une télécommande.
25-FR
Unité intérieure
Unité extérieure
Unité extérieure
Unité intérieure
Unité intérieure
Achever la configuration de l'adresse en mettant sous
tension
Unité extérieure
Unité intérieure
– 25 –
Manuel d'installation
Unité extérieure
Unité intérieure
Table des Matières
loading

Table des Matières