Télécharger Imprimer la page

Description Et Caractéristiques Techniques; Limites D'application; Description Des Composants - Faac Sm 1200 Instructions D'installation

1.
DESCRIPTION ET CARACTÉRISTIQUES TECHNIQUES
Ces instructions sont valables pour les systèmes antipanique à
défoncement SFM 1200 et SM 1200 installés sur les modèles
suivants d'automatismes:
940 SM-SMD
940 SMA-SMAD
930 SF-SFA
Lire attentivement les instructions avant de commencer
l'installation du produit.
Pour le système SM 1200, vérifier que les prescriptions du chapitre
4 sont applicables.
Les systèmes sont adaptables à tous les profils vendus dans le
commerce.
On peut loger la patte latérale à l'intérieur des profils dont le
montant a une section interne d'au moins 30x30 mm.
1.1

Limites d'application

Longueur maxi
500
du vantail (mm)
Poids maxi
100
du vantail (kg)
1.2

Description des composants

SM 1200 - SFM 1200
550
600
650
700
100
95
95
90
En cas de dimensions internes inférieures, procéder à la fixation
extérieure.
Toutes les dimensions indiquées dans ces instructions sont
exprimées en millimètres. La coupe des profils des vantaux doit
toujours être à 90°.
Les chariots représentés dans l'instruction ne sont représentés
qu'à titre d'exemple: sauf spécifications différentes, les indications
sont valables indépendamment du modèle d'automatisme
utilisé.
Pour le positionnement et le réglage des composants de
l'automatisme, consulter les instructions spécifiques.
Disposer un dispositif (par exemple une photocellule) qui, en cas
de défoncement, empêche tout mouvement automatique des
vantaux.
750
800
850
900
90
85
85
80
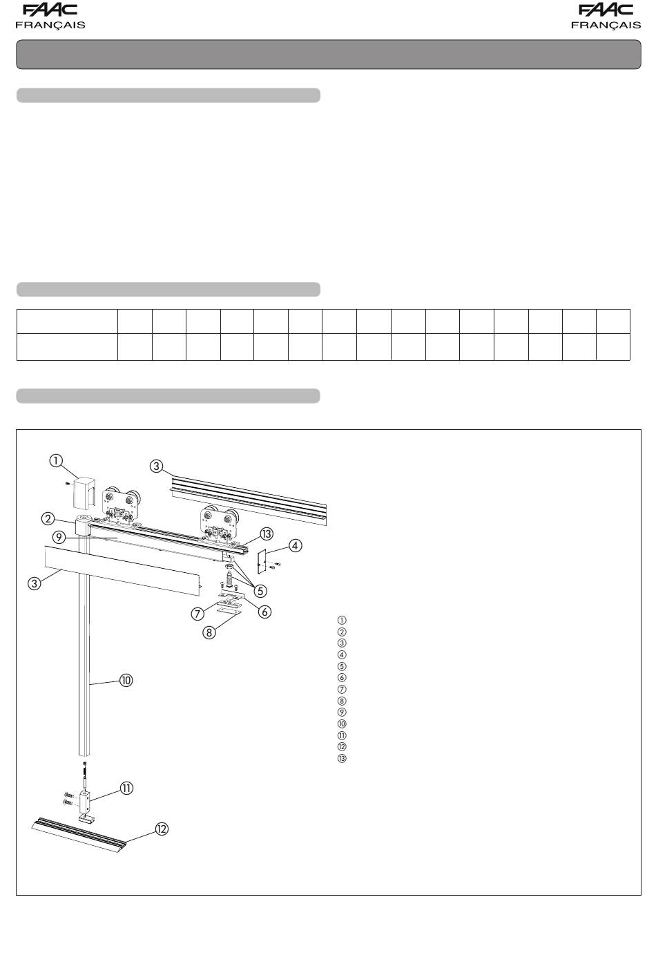
Bouchon de fermeture
Patte supérieure
Carter de protection
Couvercle de fermeture
Groupe de déverrouillage antipanique
Couvercle de fermeture du carter
Bloc d'accrochage
Entretoise
Tige supérieure antipanique
Patte latérale antipanique
Groupe du patin de coulissement
Guide de coulissement
Profil patte d'attache du vantail
19
950
1100
1000
1050
80
75
75
75
1150
1200
70
70
fig. 1
loading

Ce manuel est également adapté pour:

Sfm 1200