Connexion De L'appareil Audio/Vidéo (Av) (Pour La Lecture) - Viewsonic Cde6501Led Guide De L'utilisateur

Table des Matières
Connexions
(suite)
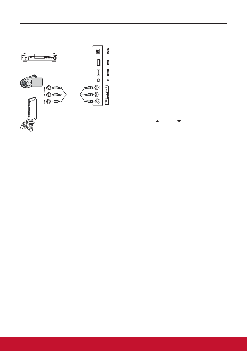
Connexion de l'appareil audio/vidéo (AV) (pour la lecture)
VCR
Côté de l'écran
ou
Caméscope
Câble AV
ou
Console de jeux
Pour connecter un appareil AV, tel qu'un
magnétoscope, un caméscope ou une
console de jeu vidéo : Branchez les câbles
audio/video sur les connecteurs audio(G/D)/
vidéo du moniteur et de l'appareil AV.
Pour lancer la lecture sur l'appareil AV :
1. Allumez l'écran et appuyez sur le bouton
Les câbles sont souvent
codés en couleurs aux
connecteurs. Connectez
2. Appuyez sur
le jaune au jaune, le
rouge au rouge et le
blanc au blanc.
3. Mettez l'appareil AV en marche, insérez une
INPUT (ENTRÉE). Le menu contextuel
Input Source (Source d'Entrée)
s'affiche.
ou sur
AV, puis sur OK pour confirmer.
cassette vidéo et appuyez sur le bouton Play.
11
pour sélectionner
Table des Matières
loading

Ce manuel est également adapté pour:

Vs15026

Table des Matières