Moteurs Combisystème Autorisés; Assemblage - Stihl Sp-Km Notice D'emploi

Masquer les pouces Voir aussi pour SP-KM:
Table des Matières
français
Moteurs CombiSystème
autorisés
Utiliser exclusivement des moteurs
CombiSystème livrés par STIHL ou sur
lesquels le montage de cet outil a été
expressément autorisé par STIHL.
L'utilisation de cet outil CombiSystème
est autorisée exclusivement avec les
moteurs CombiSystème suivants :
STIHL KM 55 R, KM 56 R, KM 85 R
KM 90 R, KM 94 R, KM 100 R,
1)
KM 110 R
.
AVERTISSEMENT
Sur les machines à poignée circulaire, la
protection (pour garder la distance de
sécurité entre l'outil de coupe et les
pieds et jambes de l'utilisateur) doit être
montée.
1)
exclusivement pour pays non
membres de l'UE
8

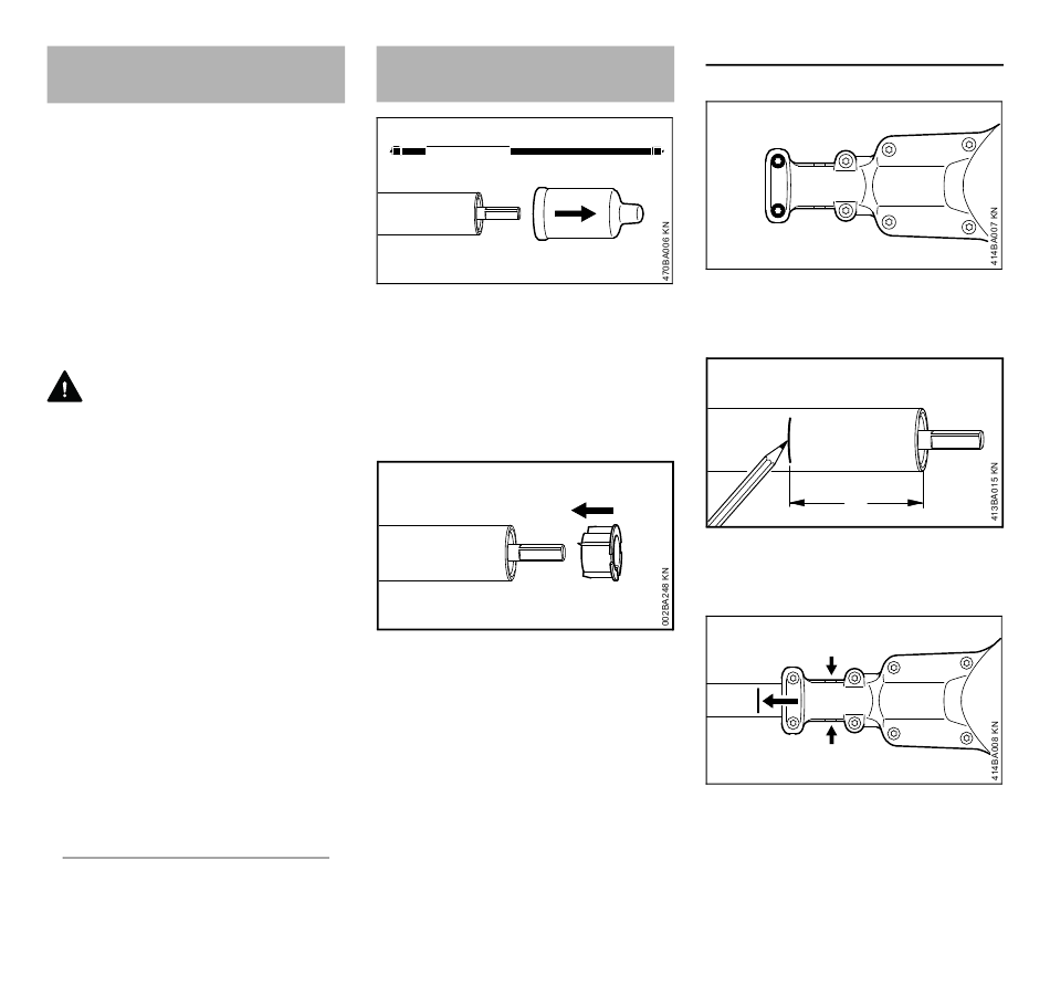
Assemblage

1)
,
Utiliser le tube faisant partie du jeu
N
de pièces livré avec la machine.
Enlever les capuchons de
N
protection des extrémités du tube et
les conserver pour pouvoir les
remonter plus tard – voir
« Rangement ».
À l'enlèvement du capuchon, le bouchon
peut être extrait du tube. Il faut alors le
remettre en place en le poussant à fond
dans le tube.
Montage du réducteur
1
1
Desserrer les vis de serrage (1) du
N
réducteur – ne pas les dévisser
complètement.
A
Sur le tube, faire une marque à une
N
distance A = 50 mm (avec un
crayon noir ou de couleur).
2
3
Glisser le réducteur (2) sur le
N
tube (3), jusqu'en butée – à
l'introduction, faire légèrement
pivoter le réducteur dans les deux
SP-KM
Table des Matières
loading

Table des Matières