Se connecter
Télécharger
Télécharger
Table des Matières
Matières
Ajouter à mes manuels
Supprimer de mes manuels
Partager
L'URL de cette page:
Lien HTML:
Marquer une page
Ajouter
Manuel sera automatiquement ajouté à "Mes manuels"
Imprimer la page
×
Signet ajouté
×
Ajouté à mes manuels
Manuels
Marques
Telcoma Automations Manuels
Unités d'entraînement
STAR1
Notice d'instruction
Telcoma Automations STAR1 Notice D'instruction page 15
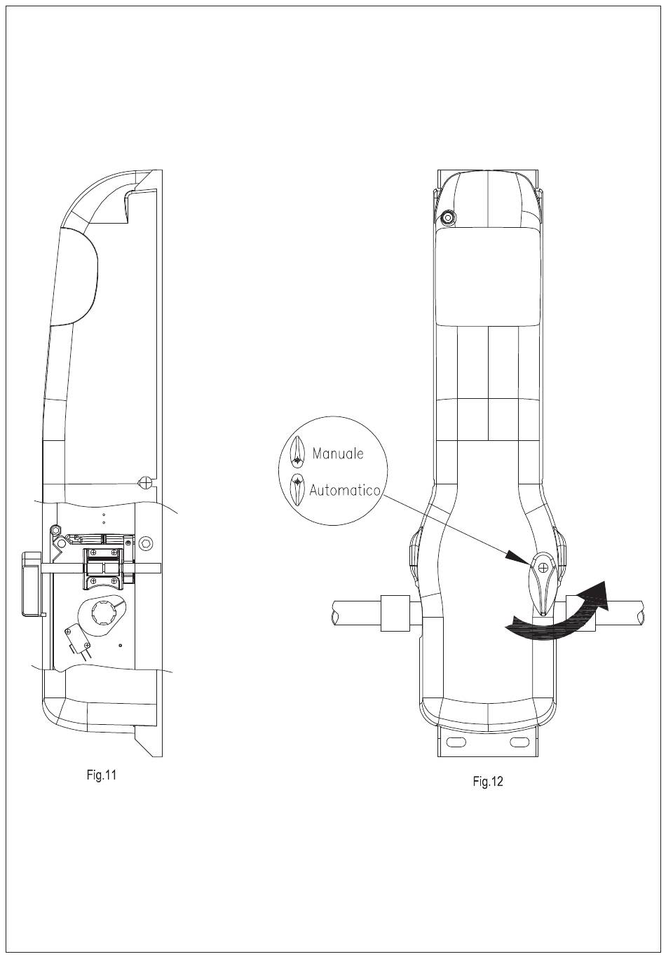
Motoréducteur électromécanique pour portes basculantes à ressorts ou à contrepoids
Masquer les pouces
Voir aussi pour STAR1
:
Notice d'instruction
(25 pages)
1
2
3
4
5
6
7
8
9
10
11
12
13
14
15
16
17
18
19
20
21
Table Des Matières
22
page
de
22
Allez
/
22
Matières
Table des Matières
Signets
Table des Matières
15
Table des
Matières
Page
Précédent
e
Page
Suivant
e
1
...
12
13
14
15
16
17
18
19
Table des Matières
Manuels Connexes pour Telcoma Automations STAR1
Ouvreurs de porte de garage Telcoma Automations STAR Série Notice D'instruction
Motoréducteur électromécanique pour portes basculantes à ressorts ou à contrepoids (25 pages)
Produits Connexes pour Telcoma Automations STAR1
Telcoma Automations Stone/i
Telcoma Automations Stone/r
Telcoma Automations Stone L/I
Telcoma Automations Stone L/r
Telcoma Automations Stone 3
Telcoma Automations Stone 5
Telcoma Automations STONE 3/5
Telcoma Automations STAR1E
Telcoma Automations STAR2E
Telcoma Automations STAR1E24
Telcoma Automations STAR2E24
Telcoma Automations STAR2AE
Telcoma Automations STAR2A
Telcoma Automations SRC N
Telcoma Automations SM 2000 M
Telcoma Automations SM 2000
Ce manuel est également adapté pour:
Star1l
Star2
Star2l
Star124
Star224
Star série
Table des Matières
Imprimer
Renommer le signet
Supprimer le signet?
Supprimer de mes manuels?
Connexion
Se connecter
OU
Se connecter avec Facebook
Se connecter avec Google
Télécharger le manuel
Télécharger depuis le disque dur
Télécharger depuis l'URL