Fonctionnement - Aeg Rdb424E1Aw Notice D'utilisation

Masquer les pouces Voir aussi pour RDB424E1AW:
Table des Matières
Les langues disponibles

Les langues disponibles

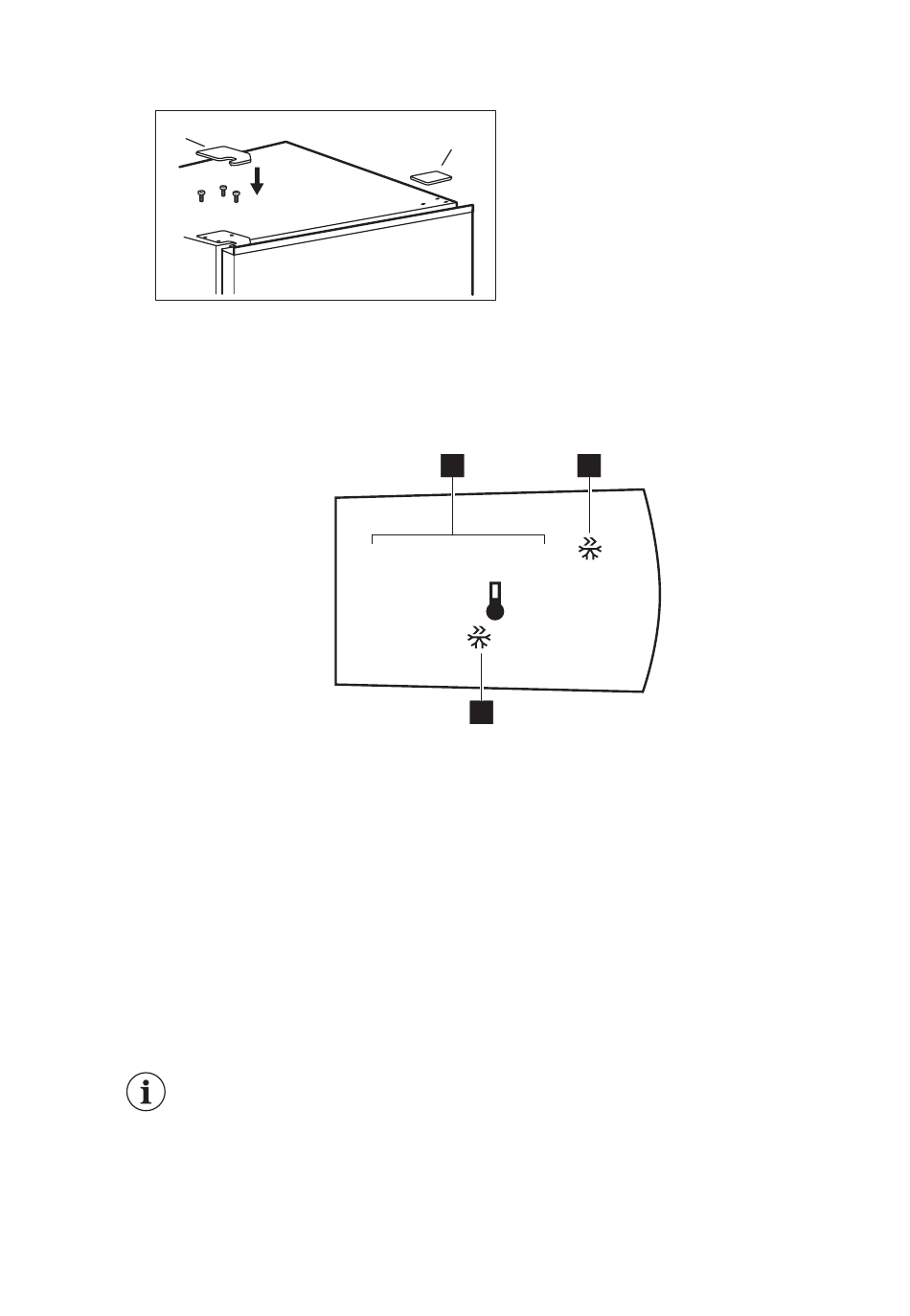
le cache de l'orifice de la vis (B) sur
le côté supérieur droit de l'appareil
où se trouvent les orifices des vis.
A

4. FONCTIONNEMENT

4.1 Bandeau de commande
1. Indicateur de température
2. Super Freeze indicateur
4.2 Activation
Insérez la fiche dans la prise murale.
4.3 Désactivation
Pour éteindre l'appareil, retirez la fiche
de la prise électrique.
4.4 Réglage de la température
La température programmée
par défaut pour le
compartiment du
réfrigérateur est de 4 °C.
Pour régler la température, appuyez
plusieurs fois sur la touche de
Installez les équipements de la porte.
Attendez au moins 4 heures avant de
brancher l'appareil sur le secteur.
B
1
1
°C
8
6
4
2
3sec
3
3
3. Touche Commande
commande jusqu'à obtenir la
température souhaitée.
Choisissez le réglage en tenant compte
du fait que la température à l'intérieur de
l'appareil dépend de plusieurs facteurs :
• la température ambiante ;
• la fréquence d'ouverture de la porte ;
• la quantité de denrées entreposées ;
• l'emplacement de l'appareil.
Un réglage intermédiaire est
généralement le plus indiqué.
4.5 Fonction Super
congélation
La fonction Super Freeze sert à effectuer
une pré-congélation et une congélation
rapide en séquence dans le
FRANÇAIS
2
2
33
Table des Matières
loading

Ce manuel est également adapté pour:

Rdb424e1axRdb424f1awRds424e1awRds824ecawRds824exaw

Table des Matières