Graphe De Régression Quadratique; Graphe De Régression Logarithmique - Casio Graph25+ Manuel De L'utilisateur

Masquer les pouces Voir aussi pour GRAPH25+:
Table des Matières
Chapitre 7
Graphes et calculs statistiques
Voici la signification des paramètres précédents.
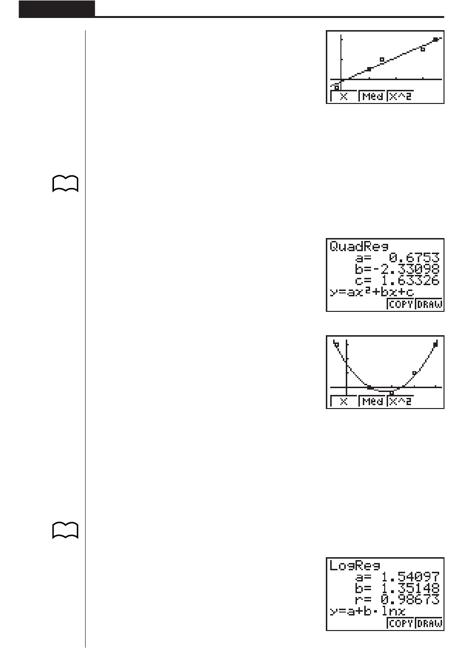
k k k k k Graphe de régression quadratique
P.114
Un graphe de régression quadratique représente la connexion des points d'un
diagramme de dispersion. C'est une dispersion de points suffisamment proches pour
être raccordés représentée par la formule de régression quadratique.
Voici la signification des paramètres précédents.
k k k k k Graphe de régression logarithmique
La régression logarithmique exprime y comme fonction logarithmique de x. La formule
de régression logarithmique standard est
P.114
log
124
4(DRAW)
a ......
Pente de graphe Med-Med
b ......
Intersection de
3(X^2)
4(DRAW)
a ......
Coefficient de régression quadratique
b ......
Coefficient de régression linéaire
c ......
Terme constant de la régression (intersection de
x
, la formule correspond à la formule de régression
[1(Log)
y
de graphe Med-Med
y
a
=
+
1
2
1
2
y
)
b
x
× log
, et si on suppose que X =
y
a
b
=
+
X.
1
2
3
4
3
4
3
4
Table des Matières
loading

Table des Matières