Precision Tooling Speed Sharp Star Manuel D'utilisation Et Entretien page 13

Table des Matières
Les langues disponibles
  • FR

Les langues disponibles

  • FRANÇAIS, page 11
18. monTage de la meule
- Desserrer la vis V10 et tourner la protection P10 (fig.8).
- Démonter la vis V8 et la bride F8, présentes sur le moyeu (fig.8).
- Choisir la meule en fonction du type de chaîne à affûter (voir colonne H dans le
tableau des chaînes).
- Introduire et centrer parfaitement la meule sur le logement du moyeu prévu à cet
effet (fig.14-15).
- Introduire la bride F8 et visser la vis V8 (fig.14).
Lors du montage de la bride, veiller à ce qu'elle soit orientée comme
indiqué à la fig.15-16.
Une meule montée avec des brides excessivement serrées peut se rompre
durant le fonctionnement et compromettre la sécurité de l'opérateur. Pour
prévenir ce risque, serrer la vis M6x25 à 7 nm (si possible, contrôler le degré
de serrage à l'aide d'une clé dynamométrique).
- Refermer la protection P10 et visser la vis correspondante V10. Durant ces opé-
rations, veiller à ne pas serrer excessivement la vis, pour ne pas endommager les
protections.
19. conTrÔle du monTage de la meule
- se placer latéralement par rapport à la meule, mettre en marche l'affûteuse et s'as-
surer visuellement que la meule n'oscille pas, ni latéralement ni transversalement,
en provoquant des vibrations anormales.
- si tel est le cas, arrêter immédiatement la machine et contrôler le montage de la
meule. Au besoin, changer la meule en la remplaçant par une neuve d'origine.
Une meule à peine montée doit toujours être testée à la vitesse de
fonctionnement pendant au moins une minute avant de procéder au meulage,
en restant à bonne distance et en veillant à ce qu'aucune personne ne se
trouve à proximité de l'appareil.
20. brancHemenT ÉlecTrIQue
- s'assurer que tension et fréquence du secteur d'alimentation électrique sont con-
formes aux valeurs indiquées sur la plaque des données techniques.
- La tension d'alimentation ne doit pas s'écarter de celle indiquée sur la plaque de
plus de ±5%.
- Le branchement au secteur d'alimentation électrique doit être conforme aux normes
en vigueur dans le pays où l'appareil est utilisé.
- La prise de courant utilisée pour l'appareil doit être reliée à la terre, équipée de fusible
et protégée par un interrupteur magnétothermique différentiel d'une sensibilité non
supérieure à 30 mA.
21. mISe en marcHe
- Bloquer le bras en position complètement relevée (le bouton de sécurité doit être
relâché).
- Introduire la fiche du câble d'alimentation dans la prise de courant.
22. conTrÔle du ProfIl de la meule
- Alors que la machine est éteinte, contrôler le profil de la meule à l'aide du gabarit
prévu à cet effet (fig.17); au besoin, rétablir le bon profil en ravivant la meule.
23. aVIVage de la meule
Se munir des dispositifs de protection individuelle.
- Mettre en marche l'affûteuse en plaçant l'interrupteur sur la position "1".
- Après la mise en marche, la lampe d'éclairage de la zone d'affûtage s'allume.
- Retoucher le profil de la meule à l'aide du bloc d'avivage, en observant une grande pré-
caution et en le tenant des deux mains pour garantir une prise efficace et sûre (fig.18).
- Arrêter la machine et contrôler ensuite le profil obtenu à l'aide du gabarit (fig.19).
Le contact avec la meule alors qu'elle tourne à haute vitesse peut provoquer
des brûlures et des égratignures.
24. rÉglage de l'affûTeuSe
24.1 angleS d'affûTage
- Après avoir établi le type de chaîne à affûter, établir les angles de réglage (étau et
bras) en consultant le tableau des chaînes (colonnes C/D/E).
24.2 rÉglage angle d'affûTage SuPÉrIeur
dent
DROITE
(fIg.20-21)
- Desserrer la poignée M20.
- Tourner l'étau dans le sens des aiguilles d'une montre.
- Positionner la référence "0" de l'étau à hauteur de l'angle
voulu.
- Revisser la poignée M20.
24.3 rÉglage angle d'affûTage SuPÉrIeur
dent
GAUCHE
(fIg.20-22)
- Desserrer la poignée M20.
- Tourner l'étau dans le sens contraire des aiguilles d'une
montre.
- Positionner la référence "0" de l'étau à hauteur de l'angle voulu.
- Revisser la poignée M20.
P00801028_R02.indd 11
fr
24.4 rÉglage angle de couPe (fIg.23) (dents droites
et gauches)
- Desserrer la poignée postérieure M23 et tourner le bras vers la
droite. Positionner la référence "0", à hauteur de l'angle voulu.
- Revisser la poignée M23.
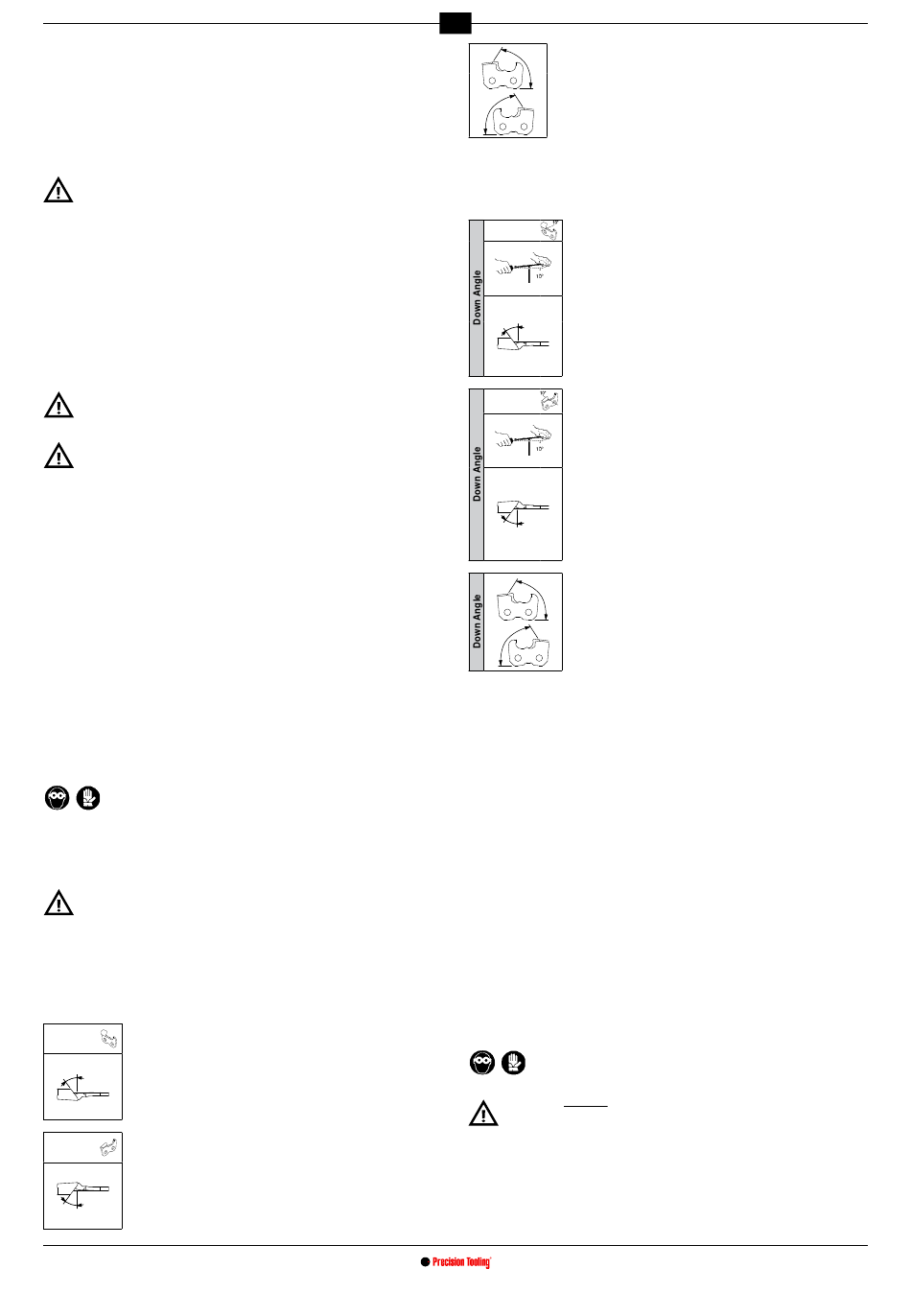
24.5 angleS d'affûTage Pour cHaÎneS a "down angle"
- Établir les angles de réglage comme indiqué précédemment.
- Procéder au réglage d'une autre position d'affûtage: l'angle bas. Pour connaître
les chaînes qui nécessitent ce type de réglage, faire référence à la colonne e du
tableau des chaînes.
dent
24.6 rÉglage angle baS (fIg.25)
DROITE
- Desserrer la poignée M20.
- Faire basculer complètement l'étau vers l'intérieur, en
faisant coïncider la référence de gauche avec celle située
au-dessous.
24.7
rÉglage angle d'affûTage SuPÉrIeur (fIg.26)
- Tourner l'étau dans le sens des aiguilles d'une montre.
- Positionner la référence "DOWN 10" (de droite) de l'étau à
hauteur de l'angle voulu.
- Revisser la poignée M20.
dent
24.8 rÉglage angle baS (fIg.27)
GAUCHE
- Desserrer la poignée M20.
- Faire basculer complètement l'étau vers l'opérateur, en
faisant coïncider la référence de droite avec celle située au-
dessous.
24.9
rÉglage angle d'affûTage SuPÉrIeur (fIg.28)
- Tourner l'étau dans le sens contraire des aiguilles d'une
montre.
- Positionner la référence "DOWN 10" (de gauche) de l'étau à
hauteur de l'angle voulu.
- Revisser la poignée M20
24.10 rÉglage angle de couPe (fIg.24) (dents droites
et gauches)
- Desserrer la poignée postérieure M23 et tourner le bras vers
la droite. Positionner la référence "DOWN 10" à hauteur de
l'angle voulu.
- Revisser la poignée M23.
24.11 rÉglage de l'arrÊT de cHaÎne (fIg.29)
- Introduire la chaîne sur l'étau.
- Amener la dent en butée contre l'arrêt de chaîne A29.
- Intervenir sur le bouton P29 pour positionner correctement l'arrêt A29 par rapport
à la dent.
24.12 PoSITIonnemenT de la denT
- Appuyer sur le bouton de sécurité P17, pour débloquer le bras (fig.22).
- Amener la meule sur la dent à affûter, en tirant le bras vers le bas.
- Intervenir sur le bouton P30, pour déplacer la chaîne, de telle sorte que le tran-
chant de la dent effleure la meule (fig.30). Durant cette opération, la chaîne doit
se déplacer librement sur l'étau mais sans jeu.
- Ensuite, relever le bras et visser le bouton P30 pour faire avancer plus encore la
dent à affûter.
cette avance correspond à la quantité de matériau qui sera éliminé de la dent.
Plus l'usure des dents est importante et plus cette avance doit l'être elle aussi.
Inversement, pour des dents peu usées, une élimination minime de matériau est
suffisante.
- Intervenir sur le bouton P31 pour régler la profondeur d'affûtage de la dent. La
meule doit effleurer verticalement le fond de la dent (fig.31).
- Une fois qu'a été établie la bonne position de la dent, serrer la poignée de blocage
de la chaîne M32 (fig.32).
En tirant la poignée M32 vers l'opérateur, il est possible de la repositionner pour
faciliter l'affûtage.
25. recommandaTIonS Pour l'affûTage
- Durant l'opération d'affûtage, veiller à faire usage des dispositifs de
protection individuelle.
- Tous les réglages doivent s'effectuer alors que le moteur est éteint et que
la meule n'est pas en mouvement.
- En cas de chocs accidentels contre la meule durant l'affûtage, procéder
comme indiqué dans le chapitre RECOMMANDATIONS RELATIVES A
LA MEULE.
- Il est recommandé de nettoyer la chaîne avant de procéder à son affûtage.
- Pour ne pas solliciter excessivement le moteur et pour ne pas endommager les
dents de la chaîne, éliminer une quantité minime de matériau et ne pas insister
trop longtemps sur la même dent pour ne pas risquer de brûler le tranchant.
- Affûter toutes les dents du même côté puis, en réglant l'étau comme indiqué dans
les chapitres précédents, affûter les dents du côté opposé.
- Durant l'affûtage ne pas utiliser de liquide de refroidissement.
11
26/11/2008 16.53.30
Table des Matières
loading

Produits Connexes pour Precision Tooling Speed Sharp Star

Table des Matières