Télécharger Imprimer la page

Schulte Walk In MasterClass Notice De Montage page 11

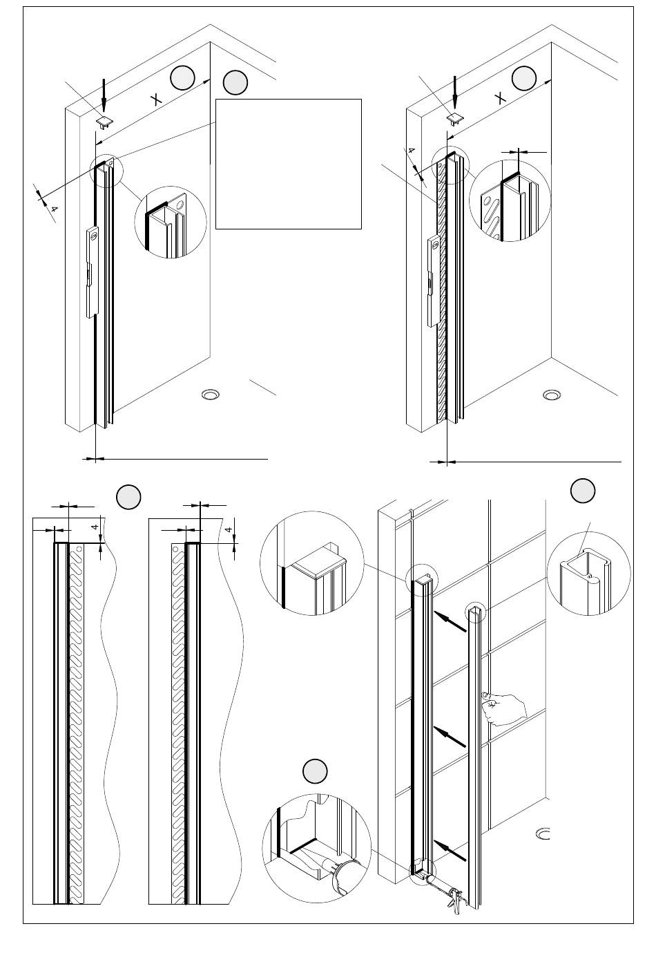
4
Pos. 10
4mm Spalt freilassen
Leaving a gap of 4mm
Dégager une pente de 4mm
Een reet van 4mm vrijlaten
3
4
4
1
2
-
Schiene einputzen
-
Trockenzeit beachten!
-
Plaster the bar
-
Consider the drying time!
-
Encastrer la barre
-
Respecter le temps de séchage!
-
Rail onnder pleister inbouwen
-
Droogproces in acht nemen!
Unterputz-Montageschiene
innen
Concealed fastening bar
inside
Barre de fixation encastré
intérieur
Bevestigingsrail onder
pleisterlaag, binnenkant
4
4
Pos. 10
4
11
1
4
Unterputz-Mon-
tageschiene
außen
Concealed
fastening bar
outside
Barre de fixation
encastré
extérieur
Bevestigingsrail
onder
pleisterlaag,
buitenkant
4mm Spalt freilassen
Leaving a gap of 4mm
Dégager une pente de 4mm
Een reet van 4mm vrijlaten
5
Pos. 2
loading