Télécharger Imprimer la page

Imiola HAK-POL R/024 Instructions De Montage page 2

30
o
max.
A
o
30
max.
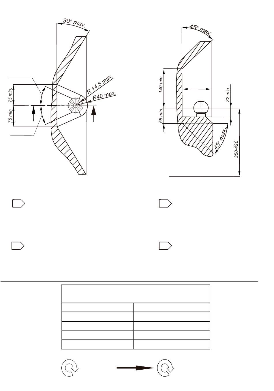
Należy zagwarantować przestrzeń
PL
swobodną według załącznika VII,
rysunek 25a/b Regulaminu EKG
ONZ 55.01 przy dopuszczalnym
ciężarze całkowitym pojazdu.
The clearance specified in appendix
GB
VII, diagram 25a/b of Regulation No.
55.01 UN EU must be guaranteed at
laden weight of the vehicle.
A
Moment skręcający dla śrub i nakrętek (8.8)
Torgue settings for nuts and bolts (8.8)
M8
M10
M12
M14
M16
0Km
PRZEKRÓJ A-A
100 max.
L'espace libre doit etre garanti
F
conformement a l'annexe VII,
illustration de la reglements
55.01 CE pour un poids total en
charge autorise du vehicule.
Der Freiraum nach Anhang VII,
D
Abbildung 25a/b der Vorschriften
55.01 EG ist zu gew 25a/b
ahrleistenbei zulassigem
Gesamtgewichtdes Fahrzeuges.
25Nm
55Nm
85Nm
135Nm
195Nm
1000Km
loading